EFG BEARINGS (XIAMEN) CO., LTD.
>>
<<
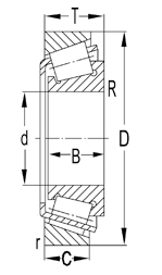
SelectBearing typeDimensionsLoad RatingPuspeed of revolutionWeightInquiry
dDTDynamic(Cr)Static(Cor)speed gradeLimit speedkg
03062/03162/Q 15,875 41,275 14,288 25,5 21,2 2,16 15000 20000 0,090
11590/11520/Q 15,875 42,862 14,288 17,6 17,6 1,83 12000 17000 0,10
LM11749/710/Q 17,462 39,878 13,843 24,5 20,8 2,12 15000 20000 0,081
LM11749/710/QVC027 17,462 39,878 13,843 24,5 20,8 2,12 15000 20000 0,081
LM11949/910/Q 19,050 45,237 15,494 31,5 27,5 29 13000 18000 0,12
09067/09195/Q 19,050 49,225 19,845 39,1 40 4,3 11000 17000 0,17
09074/09195/QVQ494 19,050 49,225 19,845 39,1 40 4,3 11000 17000 0,18
LM12748/710 21,430 45,237 15,494 27,5 31 3,2 11000 17000 0,12
M12649/610/Q 21,430 50,005 17,526 42,5 38 4,15 12000 16000 0,17
LM12749/710/Q 21,986 45,237 15,494 31,5 31 3,2 12000 17000 0,12
LM12749/711/Q 21,986 45,974 15,494 31,5 31 3,2 12000 17000 0,12
1380/1328/Q 22,225 52,388 19,368 48 44 4,8 11000 15000 0,20
07100S/07210X/Q 25,400 50,800 15,011 32 30,5 3,15 11000 15000 0,13
15578/15520 25,400 57,150 17,462 40,2 45,5 4,9 9000 13000 0,23
M84548/2/510/2/QVQ506 25,400 57,150 19,431 45,5 45 5 10000 13000 0,23
15101/15245 25,400 62 19,050 48,4 57 6,2 9500 14000 0,31
15103S/15243/Q 26,157 61,912 19,050 56 57 6,2 9000 12000 0,29
15103S/15245/Q 26,157 62 19,050 56 57 6,2 9000 12000 0,29
L44649/610/Q 26,988 50,292 14,224 30 30 3,05 11000 15000 0,11
1982F/1924A/QVQ519 27,500 57,150 19,845 52 51 5,6 10000 13000 0,22
1985/1922/Q 28,575 57,150 19,845 54 55 6 10000 13000 0,22
1988/1922/Q 28,575 57,150 19,845 47,3 55 6 9000 13000 0,22
M86647/610/QCL7C 28,575 64,292 21,433 56 61 6,8 8500 11000 0,35
02872/02820/Q 28,575 73,025 22,225 99 140 15 7000 10000 1,05
L45449/410/Q 29,000 50,292 14,224 30 32,5 3,35 11000 14000 0,11
M86649/2/610/2/QVQ506 30,162 64,292 21,433 56 61 6,8 8500 11000 0,33
M88043/010/2/QCL7C 30,162 68,262 22,225 63 69,5 7,8 8000 11000 0,41
15123/15243/Q 31,750 61,912 19,050 56 57 6,2 9000 12000 0,24
15123/15245/Q 31,750 62 19,050 56 57 6,2 9000 12000 0,24
HM88542/510/Q 31,750 73,025 29,370 70,4 95 10,4 6700 10000 0,62
Previous1234567Next

Request Quote